Высококачественный насос ZEN Вертикальный турбинный пожарный насос XBD с длинным валом состоит из нескольких центробежных рабочих колес, направляющих кожухов, водопроводных труб, трансмиссионных валов, двигателей основания насоса и других компонентов. Основание насоса и двигатель расположены над бассейном, а мощность двигателя передается на вал рабочего колеса через трансмиссионный вал, концентричный водопроводной трубе, создавая тем самым поток и давление.
Высококачественный насос ZEN Вертикальный турбинный пожарный насос XBD с длинным валом состоит из трех частей: рабочей части, водопроводной части и поверхностной части.
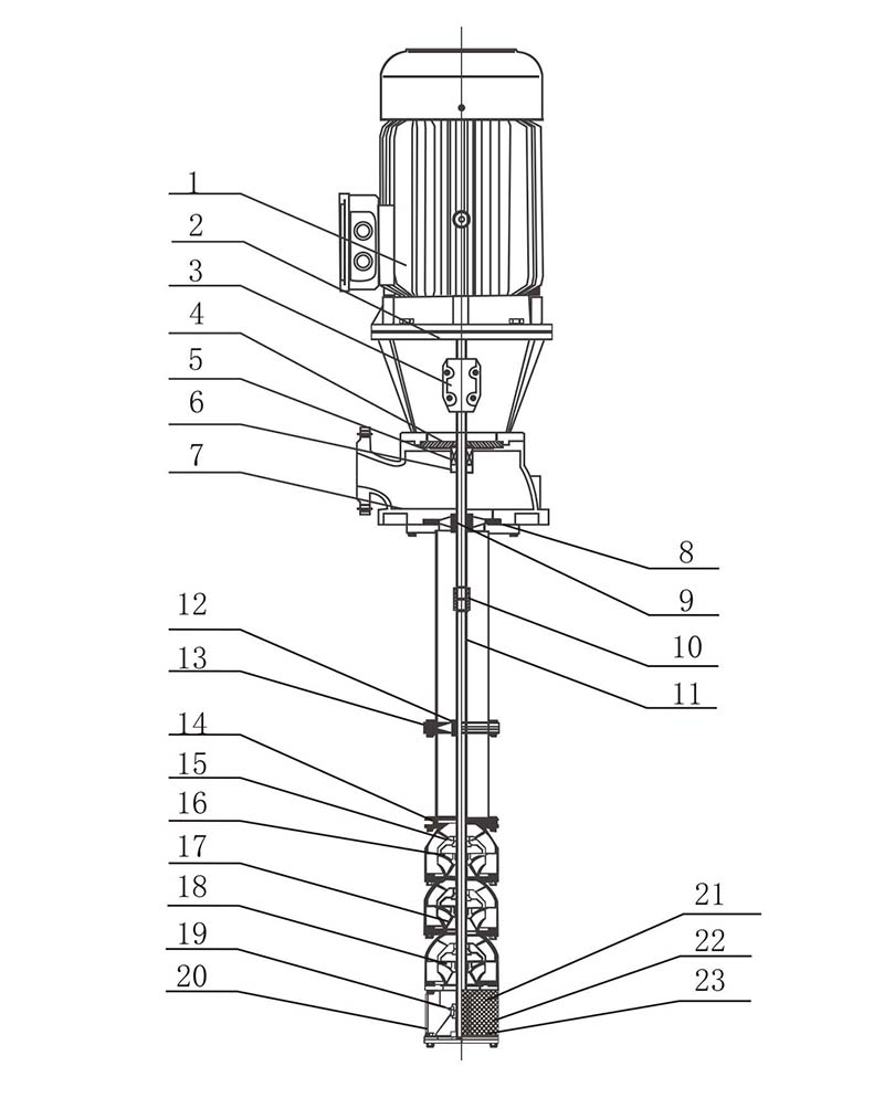
1. Рабочая часть
Эта часть состоит из рабочих частей и частей водяного фильтра. Рабочие части состоят из направляющего кожуха, рабочего колеса, конической втулки, подшипника скольжения, вала рабочего колеса и других деталей. Рабочее колесо представляет собой замкнутую конструкцию. Кожухи соединены болтами. На направляющий кожух и рабочее колесо могут быть установлены компенсационные кольца.
2. Водопроводная часть
Эта часть состоит из водопроводных труб, приводных валов, муфт и кронштейнов. Водопроводная труба соединена фланцем, а вал трансмиссии изготовлен из стали 2Cr13 или нержавеющей стали.
3. Поверхностная часть
Состоит из компонентов основания насоса, двигателя, кронштейна двигателя, муфты и других компонентов.
Модель Вертикальный турбинный пожарный насос XBD с длинным валом в основном используется для пожаротушения с помощью пожарных гидрантов, автоматического спринклерного пожаротушения и других систем пожаротушения на промышленных и горнодобывающих предприятиях, в инженерном строительстве, высотных зданиях, а также в коммунальном водоснабжении и водоотведении и т. д.
1. Как правило, чистая, неагрессивная вода.
2. Содержание твердых веществ в воде (по массе) не более 0,01%.
3. Значение pH в диапазоне 6,5–8,5.
4. Содержание сероводорода не более 1,5 мг/л.
5. Температура воды не должна превышать 40°C.
РАСХОД: 5–110 (л/с)
НАПОР: 32–200 (м)
МОЩНОСТЬ: 3–200 (кВт)
ОБОРОТЫ В ХОДЕ: 3000 ОБ/МИН.
Турбинный пожарный насос состоит из трёх частей: рабочей части, водопроводной части и поверхностной части.
1. Рабочая часть
Эта часть состоит из рабочих частей и частей водяного фильтра. Рабочие части состоят из направляющего кожуха, рабочего колеса, конической втулки, подшипника скольжения, вала рабочего колеса и других деталей. Рабочее колесо представляет собой замкнутую конструкцию. Кожухи соединены болтами. На направляющем кожухе и рабочем колесе могут быть установлены компенсационные кольца.
2. Водопроводная часть
Эта часть состоит из водопроводных труб, приводных валов, муфт и деталей кронштейна.
Водопроводная часть соединена фланцем, а материал вала трансмиссии – 2Cr13 или нержавеющая сталь.
3. Поверхностная часть
Эта часть состоит из компонентов основания насоса, двигателя, кронштейна двигателя, муфты и других деталей.
1. Как правило, чистая, неагрессивная вода.
2. Содержание твердых веществ в воде (по массе) – не более 0,01%.
3. Значение pH – в пределах 6,5–8,5.
4. Содержание сероводорода – не более 1,5 мг/л.
5. Температура воды не должна превышать 40°С.
|
№ |
ЭЛЕМЕНТ | Материал |
| 1 | двигателя | СБОРОЧНЫЙ УЗЕЛ |
| 2 | Опора двигателя | QT400-18 |
| 3 | Муфта | ZG235-150 |
| 4 | Крышка уплотнения | QT100-18 |
| 5 | Торцевое уплотнение | CARBON-SIC-NBR |
| 6 | Держатель уплотнения | ZG235-450 |
| 7 | Выпускной патрубок | QT400-18 |
| 8 | Выпускной патрубок | QT400-18 |
| 9 | Опорный вал | COTTO NIRON |
| 10 | Муфта | ZG235-150 |
| 11 | Вал | 20CR13 |
| 12 | Опорный подшипник | COTTO NIRON |
| 13 | Кронштейн | QT100-18 |
| 14 | Верхняя чаша | QT100-18 |
| 15 | Подшипник-чаша | РЕЗИНА |
| 16 | Чаша | 20CR13 |
| 17 |
Рабочее колесо |
06CR19N110 |
| 18 | Средняя чаша | QT400-18 |
| 19 | Подшипник | РЕЗИНА |
| 20 | Всасывающий колокол | QT100-18 |
| 21 | Фильтр | O6CR19NI10 |
| 22 | Упорный диск | 20CR13 |
| 23 | Передняя упорная пластина | СМЕСЬ ТЕФЛОНА |
| Число | Тип |
Номинальный расход (L/S) |
Напор (m) |
Мощность (kW) |
Скорость (r/min) |
Калибр (mm) |
Максимальное рабочее давление (≤Mpa) |
150% номинального давления потока (≥Mpa) |
| 1 | XBD4.0/1WJ-SEAD | 1 | 40 | 3 | 3000 | 50 | 0.560 | 0.260 |
| 2 | XBD5.0/1WJ-SEAD | 1 | 50 | 4 | 3000 | 50 | 0.700 | 0.325 |
| 3 | XBD6.0/1WJ-SEAD | 1 | 60 | 4 | 3000 | 50 | 0.840 | 0.390 |
| 4 | XBD7.0/1WJ-SEAD | 1 | 70 | 5.5 | 3000 | 50 | 0.980 | 0.455 |
| 5 | XBD8.0/1WJ-SEAD | 1 | 80 | 7.5 | 3000 | 50 | 1.120 | 0.520 |
| 6 | XBD9.0/1WJ-SEAD | 1 | 90 | 7.5 | 3000 | 50 | 1.260 | 0.585 |
| 7 | XBD10.0/1WJ-SEAD | 1 | 100 | 11 | 3000 | 50 | 1.400 | 0.650 |
| 8 | XBD11.0/1WJ-SEAD | 1 | 110 | 11 | 3000 | 50 | 1.540 | 0.715 |
| 9 | XBD12.0/1WJ-SEAD | 1 | 120 | 11 | 3000 | 50 | 1.680 | 0.780 |
| 10 | XBD13.0/1WJ-SEAD | 1 | 130 | 11 | 3000 | 50 | 1.820 | 0.815 |
| 11 | XBD14.0/1WJ-SEAD | 1 | 140 | 15 | 3000 | 50 | 1.960 | 0.910 |
| 12 | XBD15.0/1WJ-SEAD | 1 | 150 | 15 | 3000 | 50 | 2.100 | 0.975 |
| 13 | XBD16.0/1WJ-SEAD | 1 | 160 | 15 | 3000 | 50 | 2.240 | 1.040 |
| 14 | XBD16.8.0/1WJ-SEAD | 1 | 168 | 3 | 3000 | 50 | 2.352 | 1.092 |
| 15 | XBD4.0/3WJ-SEAD | 3 | 40 | 4 | 3000 | 50 | 0.560 | 0.260 |
| 16 | XBD5.0/3WJ-SEAD | 3 | 50 | 5.5 | 3000 | 50 | 0.700 | 0.325 |
| 17 | XBD6.0/3WJ-SEAD | 3 | 60 | 7.5 | 3000 | 50 | 0.840 | 0.390 |
| 18 | XBD7.0/3WJ-SEAD | 3 | 70 | 7.5 | 3000 | 50 | 0.980 | 0.455 |
| 19 | XBD8.0/3WJ-SEAD | 3 | 80 | 7.5 | 3000 | 50 | 1.120 | 0.520 |
| 20 | XBD9.0/3WJ-SEAD | 3 | 90 | 7.5 | 3000 | 50 | 1.260 | 0.585 |
| 21 | XBD10.0/3WJ-SEAD | 3 | 100 | 11 | 3000 | 50 | 1.400 | 0.650 |
| 22 | XBD11.0/3WJ-SEAD | 3 | 110 | 11 | 3000 | 50 | 1.540 | 0.715 |
| 23 | XBD12.0/3WJ-SEAD | 3 | 120 | 11 | 3000 | 50 | 1.680 | 0.780 |
| 24 | XBD13.0/3WJ-SEAD | 3 | 130 | 11 | 3000 | 50 | 1.820 | 0.815 |
| 25 | XBD14.0/3WJ-SEAD | 3 | 140 | 15 | 3000 | 50 | 1.960 | 0.90 |
| 26 | XBD15.0/3WJ-SEAD | 3 | 150 | 15 | 3000 | 50 | 2.100 | 0.975 |
| 27 | XBD16.0/3WJ-SEAD | 3 | 160 | 15 | 3000 | 50 | 2.240 | 1.040 |
| 28 | XBD16.8/3WJ-SEAD | 3 | 168 | 15 | 3000 | 50 | 2.352 | 1.092 |
| 29 | XBD4.0/5WJ-SEAD | 5 | 40 | 4 | 3000 | 50 | 0.560 | 0.260 |
| 30 | XBD5.0/5WJ-SEAD | 5 | 50 | 5.5 | 3000 | 50 | 0.700 | 0.325 |
| 31 | XBD6.0/5WJ-SEAD | 5 | 60 | 7.5 | 3000 | 50 | 0.840 | 0.390 |
| 32 | XBD7.0/5WJ-SEAD | 5 | 70 | 7.5 | 3000 | 50 | 0.980 | 0.455 |
| 33 | XBD8.0/5WJ-SEAD | 5 | 80 | 11 | 3000 | 50 | 1.120 | 0.520 |
| 34 | XBD9.0/5WJ-SEAD | 5 | 90 | 11 | 3000 | 50 | 1.260 | 0.585 |
| 35 | XBD10.0/5WJ-SEAD | 5 | 100 | 11 | 3000 | 50 | 1.400 | 0.650 |
| 36 | XBD11.0/5WJ-SEAD | 5 | 110 | 15 | 3000 | 50 | 1.540 | 0.780 |
| 37 | XBD12.0/5WJ-SEAD | 5 | 120 | 15 | 3000 | 50 | 1.680 | 0.845 |
| Число | Тип |
Номинальный расход (L/S) |
Напор (m) |
Мощность (kW) |
Скорость (r/min) |
Калибр (mm) |
Максимальное рабочее давление (≤Mpa) |
150% номинального давления потока (≥Mpa) |
| 38 | XBD13.0/5WJ-SEAD | 5 | 130 | 15 | 3000 | 50 | 1.820 | 0.845 |
| 39 | XBD14.0/5WJ-SEAD | 5 | 140 | 15 | 3000 | 50 | 1.960 | 0.910 |
| 40 | XBD15.0/5WJ-SEAD | 5 | 150 | 18.5 | 3000 | 50 | 2.100 | 0.975 |
| 41 | XBD16.0/5WJ-SEAD | 5 | 160 | 18.5 | 3000 | 50 | 2.240 | 1.040 |
| 42 | XBD16.8/5WJ-SEAD | 5 | 168 | 30 | 3000 | 50 | 2.352 | 1.092 |
| 43 | XBD3.3/5GJ-SEAD | 5 | 33 | 3 | 3000 | 50 | 0.462 | 0.215 |
| 44 | XBD4.0/5GJ-SEAD | 5 | 40 | 4 | 3000 | 50 | 0.560 | 0.260 |
| 45 | XBD6.0/5GJ-SEAD | 5 | 60 | 5.5 | 3000 | 50 | 0.840 | 0.390 |
| 46 | XBD8.0/5GJ-SEAD | 5 | 80 | 7.5 | 3000 | 50 | 1.120 | 0.520 |
| 47 | XBD10.0/5GJ-SEAD | 5 | 100 | 11 | 3000 | 50 | 1.400 | 0.650 |
| 48 | XBD12.0/5GJ-SEAD | 5 | 120 | 15 | 3000 | 50 | 1.680 | 0.780 |
| 49 | XBD14.0/5GJ-SEAD | 5 | 140 | 15 | 3000 | 50 | 1.960 | 0.910 |
| 50 | XBD16.3/5GJ-SEAD | 5 | 163 | 18.5 | 3000 | 50 | 2.282 | 1.060 |
| 51 | XBD3.2/10GJ-SEAD | 10 | 32 | 5.5 | 3000 | 80 | 0.448 | 0.208 |
| 52 | XBD4.2/10GJ-SEAD | 10 | 42 | 7.5 | 3000 | 80 | 0.588 | 0.273 |
| 53 | XBD5.0/10GJ-SEAD | 10 | 50 | 11 | 3000 | 80 | 0.700 | 0.325 |
| 54 | XBD6.0/10GJ-SEAD | 10 | 60 | 15 | 3000 | 80 | 0.840 | 0.390 |
| 55 | XBD8.4/10GJ-SEAD | 10 | 84 | 15 | 3000 | 80 | 1.176 | 0.546 |
| 56 | XBD9.6/10GJ-SEAD | 10 | 96 | 18.5 | 3000 | 80 | 1.344 | 0.624 |
| 57 | XBD10.0/10GJ-SEAD | 10 | 100 | 18.5 | 3000 | 80 | 1.400 | 0.650 |
| 58 | XBD11.0/10GJ-SEAD | 10 | 110 | 18.5 | 3000 | 80 | 1.540 | 0.715 |
| 59 | XBD12.0/10GJ-SEAD | 10 | 120 | 22 | 3000 | 80 | 1.680 | 0.780 |
| 60 | XBD13.0/10GJ-SEAD | 10 | 130 | 22 | 3000 | 80 | 1.820 | 0.845 |
| 61 | XBD14.4/10GJ-SEAD | 10 | 144 | 30 | 3000 | 80 | 2.016 | 0.936 |
| 62 | XBD15.6/10GJ-SEAD | 10 | 156 | 30 | 3000 | 80 | 2.184 | 1.014 |
| 63 | XBD17.0/10GJ-SEAD | 10 | 170 | 37 | 3000 | 80 | 2.380 | 1.105 |
| 64 | XBD18.0/10GJ-SEAD | 10 | 180 | 37 | 3000 | 80 | 2.520 | 1.170 |
| 65 | XBD3.6/15GJ-SEAD | 15 | 36 | 11 | 3000 | 80 | 0.501 | 0.231 |
| 66 | XBD4.0/15GJ-SEAD | 15 | 40 | 11 | 3000 | 80 | 0.560 | 0.260 |
| 67 | XBD5.0/15GJ-SEAD | 15 | 50 | 15 | 3000 | 80 | 0.700 | 0.325 |
| 68 | XBD6.0/15GJ-SEAD | 15 | 60 | 15 | 3000 | 80 | 0.840 | 0.390 |
| 69 | XBD7.2/15GJ-SEAD | 15 | 72 | 18.5 | 3000 | 80 | 1.008 | 0.325 |
| 70 | XBD8.4/15GJ-SEAD | 15 | 84 | 22 | 3000 | 80 | 1.176 | 0.468 |
| 71 | XBD9.6/15GJ-SEAD | 15 | 96 | 22 | 3000 | 80 | 1.344 | 0.546 |
| 72 | XBD10.0/15GJ-SEAD | 15 | 100 | 22 | 3000 | 80 | 1.400 | 0.624 |
| 73 | XBD11.0/15GJ-SEAD | 15 | 110 | 30 | 3000 | 80 | 1540 | 0.650 |
| 74 | XBD12.0/15GJ-SEAD | 15 | 120 | 30 | 3000 | 80 | 1680 | 0.715 |
| Число | Тип |
Номинальный расход (L/S) |
Напор (m) |
Мощность (kW) |
Скорость (r/min) |
Калибр (mm) |
Максимальное рабочее давление (≤Mpa) |
150% номинального давления потока (≥Mpa) |
| 75 | XBD13.0/15GJ-SEAD | 15 | 130 | 37 | 3000 | 80 | 1.820 | 0.845 |
| 76 | XBD14.0/15GJ-SEAD | 15 | 140 | 37 | 3000 | 80 | 1.960 | 0.910 |
| 77 | XBD15.6/15GJ-SEAD | 15 | 156 | 37 | 3000 | 80 | 2.184 | 1.014 |
| 78 | XBD17.0/15GJ-SEAD | 15 | 170 | 45 | 3000 | 80 | 2.380 | 1.105 |
| 79 | XBD18.2./15GJ-SEAD | 15 | 182 | 45 | 3000 | 80 | 2.518 | 1.183 |
| 80 | XBD20.0/15GJ-SEAD | 15 | 200 | 55 | 3000 | 80 | 2.800 | 1.300 |
| 81 | XBD3.3/20GJ-SEAD | 20 | 33 | 11 | 3000 | 100 | 0.462 | 0.215 |
| 82 | XBD4.0/20GJ-SEAD | 20 | 40 | 15 | 3000 | 100 | 0.580 | 0.260 |
| 83 | XBD4.4/20GJ-SEAD | 20 | 44 | 15 | 3000 | 100 | 0.616 | 0.286 |
| 84 | XBD5.0/20GJ-SEAD | 20 | 50 | 18.5 | 3000 | 100 | 0.700 | 0.325 |
| 85 | XBD5.5/20GJ-SEAD | 20 | 55 | 18.5 | 3000 | 100 | 0.770 | 0.358 |
| 86 | XBD6.0/20GJ-SEAD | 20 | 50 | 22 | 3000 | 100 | 0.700 | 0.325 |
| 87 | XBD6.6/20GJ-SEAD | 20 | 66 | 22 | 3000 | 100 | 0.924 | 0.429 |
| 88 | XBD7.0/20GJ-SEAD | 20 | 70 | 30 | 3000 | 100 | 0.980 | 0.455 |
| 89 | XBD8.0/20GJ-SEAD | 20 | 80 | 30 | 3000 | 100 | 1.120 | 0.520 |
| 90 | XBD9.0/20GJ-SEAD | 20 | 90 | 30 | 3000 | 100 | 1.260 | 0.585 |
| 91 | XBD10.0/20GJ-SEAD | 20 | 100 | 37 | 3000 | 100 | 1.400 | 0.650 |
| 92 | XBD11.0/20GJ-SEAD | 20 | 110 | 37 | 3000 | 100 | 1.540 | 0.75 |
| 93 | XBD12.1/20GJ-SEAD | 20 | 121 | 45 | 3000 | 100 | 1.694 | 0.787 |
| 94 | XBD14.0/20GJ-SEAD | 20 | 140 | 45 | 3000 | 100 | 1.960 | 0.910 |
| 95 | XBD16.0/20GJ-SEAD | 20 | 160 | 55 | 3000 | 100 | 2.240 | 1.040 |
| 96 | XBD18.0/20GJ-SEAD | 20 | 180 | 55 | 3000 | 100 | 2.520 | 1.170 |
| 97 | XBD20.0/20GJ-SEAD | 20 | 200 | 75 | 3000 | 100 | 2.800 | 1.300 |
| 98 | XBD3.2/25GJ-SEAD | 25 | 32 | 11 | 3000 | 100 | 0.448 | 0.208 |
| 99 | XBD4.2/25GJ-SEAD | 25 | 42 | 15 | 3000 | 100 | 0.588 | 0.273 |
| 100 | XBD5.3/25GJ-SEAD | 25 | 53 | 18.5 | 3000 | 100 | 0.742 | 0.345 |
| 101 | XBD6.3/25GJ-SEAD | 25 | 63 | 22 | 3000 | 100 | 0.882 | 0.410 |
| 102 | XBD7.3/25GJ-SEAD | 25 | 73 | 30 | 3000 | 100 | 1.022 | 0.475 |
| 103 | XBD8.4/25GJ-SEAD | 25 | 84 | 37 | 3000 | 100 | 1.176 | 0.546 |
| 104 | XBD9.0/25GJ-SEAD | 25 | 90 | 37 | 3000 | 100 | 1.260 | 0.585 |
| 105 | XBD10.0/25GJ-SEAD | 25 | 100 | 37 | 3000 | 100 | 1.400 | 0.950 |
| 106 | XBD11.0/25GJ-SEAD | 25 | 110 | 45 | 3000 | 100 | 1.540 | 0.715 |
| 107 | XBD12.0/25GJ-SEAD | 25 | 120 | 45 | 3000 | 100 | 1.680 | 0.780 |
| 108 | XBD14.0/25GJ-SEAD | 25 | 140 | 55 | 3000 | 100 | 1.960 | 0.910 |
| 109 | XBD16.0/25GJ-SEAD | 25 | 160 | 75 | 3000 | 100 | 2.240 | 1.040 |
| 110 | XBD18.5/25GJ-SEAD | 25 | 185 | 75 | 3000 | 100 | 2.590 | 1.203 |
| 111 | XBD3.6/30GJ-SEAD | 30 | 36 | 15 | 3000 | 100 | 0.504 | 0.234 |
| Число | Тип |
Номинальный расход (L/S) |
Напор (m) |
Мощность (kW) |
Скорость (r/min) |
Калибр (mm) |
Максимальное рабочее давление (≤Mpa) |
150% номинального давления потока (≥Mpa) |
| 112 | XBD4.2/30GJ-SEAD | 30 | 40 | 18.5 | 3000 | 100 | 0.560 | 0.260 |
| 113 | XBD5.0/30GJ-SEAD | 30 | 50 | 22 | 3000 | 100 | 0.700 | 0.325 |
| 114 | XBD6.0/30GJ-SEAD | 30 | 60 | 30 | 3000 | 100 | 0.840 | 0.390 |
| 115 | XBD7.2/30GJ-SEAD | 30 | 72 | 30 | 3000 | 100 | 1.008 | 0.468 |
| 116 | XBD8.0/30GJ-SEAD | 30 | 80 | 37 | 3000 | 100 | 1.120 | 0.520 |
| 117 | XBD9.0/30GJ-SEAD | 30 | 90 | 45 | 3000 | 100 | 1.260 | 0.585 |
| 118 | XBD10.0/30GJ-SEAD | 30 | 100 | 45 | 3000 | 100 | 1.400 | 0.650 |
| 119 | XBD11.0/30GJ-SEAD | 30 | 110 | 45 | 3000 | 100 | 1.540 | 0.715 |
| 120 | XBD13.0/30GJ-SEAD | 30 | 130 | 55 | 3000 | 100 | 1.820 | 0.845 |
| 121 | XBD14.5/30GJ-SEAD | 30 | 145 | 75 | 3000 | 100 | 2.030 | 0.943 |
| 122 | XBD16.2/30GJ-SEAD | 30 | 162 | 75 | 3000 | 100 | 2.268 | 1.053 |
| 123 | XBD18.0/30GJ-SEAD | 30 | 180 | 90 | 3000 | 100 | 2.520 | 1.170 |
| 124 | XBD20.0/30GJ-SEAD | 30 | 200 | 90 | 3000 | 100 | 2.800 | 1.300 |
| 125 | XBD3.2/35GJ-SEAD | 35 | 32 | 18.5 | 3000 | 100 | 0.448 | 0.208 |
| 126 | XBD4.0/35GJ-SEAD | 35 | 40 | 22 | 3000 | 100 | 0.560 | 0.260 |
| 127 | XBD5.0/35GJ-SEAD | 35 | 50 | 30 | 3000 | 100 | 0.700 | 0.325 |
| 128 | XBD6.0/35GJ-SEAD | 35 | 60 | 30 | 3000 | 100 | 0.840 | 0.390 |
| 129 | XBD6.5/35GJ-SEAD | 35 | 65 | 37 | 3000 | 100 | 0.910 | 0.423 |
| 130 | XBD7.0/35GJ-SEAD | 35 | 70 | 37 | 3000 | 100 | 0.980 | 0.455 |
| 131 | XBD8.0/35GJ-SEAD | 35 | 80 | 45 | 3000 | 100 | 1.120 | 0.520 |
| 132 | XBD9.0/35GJ-SEAD | 35 | 90 | 55 | 3000 | 100 | 1.260 | 0.585 |
| 133 | XBD10.0/35GJ-SEAD | 35 | 100 | 55 | 3000 | 100 | 1.400 | 0.650 |
| 134 | XBD11.2/35GJ-SEAD | 35 | 112 | 75 | 3000 | 100 | 1.568 | 0.728 |
| 135 | XBD13.0/35GJ-SEAD | 35 | 130 | 75 | 3000 | 100 | 1.820 | 0.845 |
| 136 | XBD15.0/35GJ-SEAD | 35 | 150 | 90 | 3000 | 100 | 2.100 | 0.975 |
| 137 | XBD16.0/35GJ-SEAD | 35 | 160 | 90 | 3000 | 100 | 2.240 | 1.040 |
| 138 | XBD18.0/35GJ-SEAD | 35 | 180 | 110 | 3000 | 100 | 2.520 | 1.170 |
| 139 | XBD19.2/35GJ-SEAD | 35 | 192 | 110 | 3000 | 100 | 2.688 | 1.248 |
| 140 | XBD20.0/35GJ-SEAD | 35 | 200 | 132 | 3000 | 100 | 2.800 | 1.300 |
| 141 | XBD3.2/40GJ-SEAD | 40 | 32 | 22 | 3000 | 150 | 0.448 | 0.208 |
| 142 | XBD4.0/40GJ-SEAD | 40 | 40 | 30 | 3000 | 150 | 0.560 | 0.260 |
| 143 | XBD4.8/40GJ-SEAD | 40 | 48 | 30 | 3000 | 150 | 0.672 | 0.312 |
| 144 | XBD5.0/40GJ-SEAD | 40 | 50 | 37 | 3000 | 150 | 0.700 | 0.325 |
| 145 | XBD6.0/40GJ-SEAD | 40 | 60 | 45 | 3000 | 150 | 0.840 | 0.390 |
| 146 | XBD7.0/40GJ-SEAD | 40 | 70 | 45 | 3000 | 150 | 0.980 | 0.455 |
| 147 | XBD8.0/40GJ-SEAD | 40 | 80 | 55 | 3000 | 150 | 1.120 | 0.520 |
| 148 | XBD9.0/40GJ-SEAD | 40 | 90 | 55 | 3000 | 150 | 1.260 | 0.585 |
| Число | Тип |
Номинальный расход (L/S) |
Напор (m) |
Мощность (kW) |
Скорость (r/min) |
Калибр (mm) |
Максимальное рабочее давление (≤Mpa) |
150% номинального давления потока (≥Mpa) |
| 149 | XBD10.0/40GJ-SEAD | 40 | 100 | 55 | 3000 | 150 | 1.400 | 0.650 |
| 150 | XBD11.0/40GJ-SEAD | 40 | 110 | 75 | 3000 | 150 | 1.540 | 0.715 |
| 151 | XBD12.0/40GJ-SEAD | 40 | 120 | 75 | 3000 | 150 | 1680 | 0.780 |
| 152 | XBD14.0/40GJ-SEAD | 40 | 140 | 90 | 3000 | 150 | 1960 | 0.910 |
| 153 | XBD15.0/40GJ-SEAD | 40 | 150 | 90 | 3000 | 150 | 2100 | 0.975 |
| 154 | XBD16.5/40GJ-SEAD | 40 | 165 | 110 | 3000 | 150 | 2310 | 1.073 |
| 155 | XBD18.5/40GJ-SEAD | 40 | 180 | 110 | 3000 | 150 | 2520 | 1.170 |
| 156 | XBD20.0/40GJ-SEAD | 40 | 200 | 132 | 3000 | 150 | 2800 | 1.300 |
| 157 | XBD3.0/45GJ-SEAD | 45 | 30 | 22 | 3000 | 150 | 0.420 | 0.195 |
| 158 | XBD4.0/45GJ-SEAD | 45 | 40 | 30 | 3000 | 150 | 0.560 | 0.260 |
| 159 | XBD5.0/45GJ-SEAD | 45 | 50 | 37 | 3000 | 150 | 0.700 | 0.325 |
| 160 | XBD6.0/45GJ-SEAD | 45 | 60 | 45 | 3000 | 150 | 0.810 | 0.390 |
| 161 | XBD7.0/45GJ-SEAD | 45 | 70 | 55 | 3000 | 150 | 0.980 | 0.455 |
| 162 | XBD8.0/45GJ-SEAD | 45 | 80 | 55 | 3000 | 150 | 1.120 | 0.520 |
| 163 | XBD9.0/45GJ-SEAD | 45 | 90 | 75 | 3000 | 150 | 1.260 | 0.585 |
| 164 | XBD10.0/45GJ-SEAD | 45 | 100 | 75 | 3000 | 150 | 1.400 | 0.650 |
| 165 | XBD3.2/50GJ-SEAD | 50 | 32 | 22 | 3000 | 150 | 0.448 | 0.208 |
| 166 | XBD4.0/50GJ-SEAD | 50 | 40 | 30 | 3000 | 150 | 0.560 | 0.260 |
| 167 | XBD4.5/50GJ-SEAD | 50 | 45 | 37 | 3000 | 150 | 0.630 | 0.293 |
| 168 | XBD5.0/50GJ-SEAD | 50 | 50 | 37 | 3000 | 150 | 0.700 | 0.325 |
| 169 | XBD6.0/50GJ-SEAD | 50 | 60 | 45 | 3000 | 150 | 0.840 | 0.390 |
| 170 | XBD7.0/50GJ-SEAD | 50 | 70 | 55 | 3000 | 150 | 0.980 | 0.455 |
| 171 | XBD8.0/50GJ-SEAD | 50 | 80 | 55 | 3000 | 150 | 1.120 | 0.520 |
| 172 | XBD9.0/50GJ-SEAD | 50 | 90 | 75 | 3000 | 150 | 1.260 | 0.585 |
| 173 | XBD10.5/50GJ-SEAD | 50 | 105 | 75 | 3000 | 150 | 1.470 | 0.683 |
| 174 | XBD12.0/50GJ-SEAD | 50 | 120 | 90 | 3000 | 150 | 1.680 | 0.780 |
| 175 | XBD14.0/50GJ-SEAD | 50 | 140 | 110 | 3000 | 150 | 1.960 | 0.910 |
| 176 | XBD15.0/50GJ-SEAD | 50 | 150 | 132 | 3000 | 150 | 2.100 | 0.975 |
| 177 | XBD17.0/50GJ-SEAD | 50 | 170 | 160 | 3000 | 150 | 2.380 | 1.105 |
| 178 | XBD18.0/50GJ-SEAD | 50 | 180 | 160 | 3000 | 150 | 2.520 | 1.170 |
| 179 | XBD20.0/50GJ-SEAD | 50 | 200 | 200 | 3000 | 150 | 2.800 | 1.300 |
| 180 | XBD4.0/55GJ-SEAD | 55 | 40 | 37 | 3000 | 150 | 0.560 | 0.260 |
| 181 | XBD5.0/55GJ-SEAD | 55 | 50 | 45 | 3000 | 150 | 0.700 | 0.325 |
| 182 | XBD6.0/55GJ-SEAD | 55 | 60 | 55 | 3000 | 150 | 0.840 | 0.390 |
| 183 | XBD7.0/55GJ-SEAD | 55 | 70 | 55 | 3000 | 150 | 0.980 | 0.455 |
| 184 | XBD8.0/55GJ-SEAD | 55 | 80 | 75 | 3000 | 150 | 1.120 | 0.520 |
| 185 | XBD10.0/55GJ-SEAD | 55 | 100 | 90 | 3000 | 150 | 1.400 | 0.650 |
| Число | Тип |
Номинальный расход (L/S) |
Напор (m) |
Мощность (kW) |
Скорость (r/min) |
Калибр (mm) |
Максимальное рабочее давление (≤Mpa) |
150% номинального давления потока (≥Mpa) |
| 186 | XBD4.0/60GJ-SEAD | 60 | 40 | 37 | 3000 | 150 | 0.560 | 0.260 |
| 187 | XBD5.0/60GJ-SEAD | 60 | 50 | 45 | 3000 | 150 | 0.700 | 0.325 |
| 188 | XBD6.0/60GJ-SEAD | 60 | 60 | 55 | 3000 | 150 | 0.840 | 0.390 |
| 189 | XBD7.0/60GJ-SEAD | 60 | 70 | 75 | 3000 | 150 | 0.980 | 0.455 |
| 190 | XBD8.0/60GJ-SEAD | 60 | 80 | 75 | 3000 | 150 | 1.120 | 0.520 |
| 191 | XBD9.0/60GJ-SEAD | 60 | 90 | 90 | 3000 | 150 | 1.260 | 0.585 |
| 192 | XBD10.0/60GJ-SEAD | 60 | 100 | 90 | 3000 | 150 | 1.400 | 0.650 |
| 193 | XBD12.0/60GJ-SEAD | 60 | 120 | 110 | 3000 | 150 | 1.680 | 0.780 |
| 194 | XBD14.0/60GJ-SEAD | 60 | 140 | 131 | 3000 | 150 | 1.960 | 0.910 |
| 195 | XBD16.0/60GJ-SEAD | 60 | 160 | 160 | 3000 | 150 | 2.240 | 1.040 |
| 196 | XBD18.0/60GJ-SEAD | 60 | 180 | 160 | 3000 | 150 | 2.520 | 1.170 |
| 197 | XBD20.0/60GJ-SEAD | 60 | 200 | 200 | 3000 | 150 | 2.800 | 1.300 |
| 198 | XBD3.0/70GJ-SEAD | 70 | 30 | 37 | 3000 | 150 | 0.420 | 0.195 |
| 199 | XBD4.0/70GJ-SEAD | 70 | 40 | 45 | 3000 | 150 | 0.560 | 0.260 |
| 200 | XBD5.0/70GJ-SEAD | 70 | 50 | 55 | 3000 | 150 | 0.700 | 0.325 |
| 201 | XBD6.0/70GJ-SEAD | 70 | 60 | 75 | 3000 | 150 | 0.840 | 0.390 |
| 202 | XBD7.2/70GJ-SEAD | 70 | 72 | 90 | 3000 | 150 | 1.008 | 0.468 |
| 203 | XBD8.2/70GJ-SEAD | 70 | 82 | 110 | 3000 | 150 | 1.148 | 0.533 |
| 204 | XBD9.0/70GJ-SEAD | 70 | 90 | 110 | 3000 | 150 | 1.260 | 0.585 |
| 205 | XBD10.0/70GJ-SEAD | 70 | 100 | 132 | 3000 | 150 | 1.400 | 0.650 |
| 206 | XBD13.0/70GJ-SEAD | 70 | 130 | 160 | 3000 | 150 | 1.820 | 0.845 |
| 207 | XBD15.0/70GJ-SEAD | 70 | 150 | 200 | 3000 | 150 | 2.100 | 0.975 |
| 208 | XBD3.0/80GJ-SEAD | 80 | 30 | 37 | 3000 | 150 | 0.420 | 0.195 |
| 209 | XBD4.0/80GJ-SEAD | 80 | 40 | 45 | 3000 | 150 | 0.560 | 0.260 |
| 210 | XBD5.0/80GJ-SEAD | 80 | 50 | 55 | 3000 | 150 | 0.700 | 0.325 |
| 211 | XBD6.0/80GJ-SEAD | 80 | 60 | 75 | 3000 | 150 | 0.840 | 0.390 |
| 212 | XBD7.2/80GJ-SEAD | 80 | 72 | 90 | 3000 | 150 | 1.008 | 0.468 |
| 213 | XBD8.2/80GJ-SEAD | 80 | 82 | 110 | 3000 | 150 | 1.148 | 0.533 |
| 214 | XBD9.0/80GJ-SEAD | 80 | 90 | 110 | 3000 | 150 | 1.260 | 0.585 |
| 215 | XBD10.0/80GJ-SEAD | 80 | 100 | 132 | 3000 | 150 | 1.400 | 0.650 |
| 216 | XBD13.0/80GJ-SEAD | 80 | 130 | 160 | 3000 | 150 | 1.820 | 0.845 |
| 217 | XBD15.0/80GJ-SEAD | 80 | 150 | 200 | 3000 | 150 | 2.100 | 0.975 |
| 218 | XBD3.0/90GJ-SEAD | 90 | 30 | 55 | 3000 | 200 | 0.420 | 0.195 |
| 219 | XBD4.0/90GJ-SEAD | 90 | 40 | 75 | 3000 | 200 | 0.560 | 0.260 |
| 220 | XBD5.0/90GJ-SEAD | 90 | 50 | 75 | 3000 | 200 | 0.700 | 0.325 |
| 221 | XBD6.0/90GJ-SEAD | 90 | 60 | 90 | 3000 | 200 | 0.840 | 0.390 |
| 222 | XBD7.0/90GJ-SEAD | 90 | 70 | 110 | 3000 | 200 | 0.980 | 0.455 |
| Число | Тип |
Номинальный расход (L/S) |
Напор (m) |
Мощность (kW) |
Скорость (r/min) |
Калибр (mm) |
Максимальное рабочее давление (≤Mpa) |
150% номинального давления потока (≥Mpa) |
| 223 | XBD8.0/90GJ-SEAD | 90 | 80 | 110 | 3000 | 200 | 1.120 | 0.520 |
| 224 | XBD9.0/90GJ-SEAD | 90 | 90 | 132 | 3000 | 200 | 1.260 | 0.585 |
| 225 | XBD10.2/90GJ-SEAD | 90 | 102 | 160 | 3000 | 200 | 1.428 | 0.663 |
| 226 | XBD12.0/90GJ-SEAD | 90 | 120 | 200 | 3000 | 200 | 1.680 | 0.780 |
| 227 | XBD3.0/100GJ-SEAD | 100 | 30 | 55 | 3000 | 200 | 0.420 | 0.195 |
| 228 | XBD4.0/100GJ-SEAD | 100 | 40 | 75 | 3000 | 200 | 0.560 | 0.280 |
| 229 | XBD5.0/100GJ-SEAD | 100 | 50 | 75 | 3000 | 200 | 0.700 | 0.325 |
| 230 | XBD6.0/100GJ-SEAD | 100 | 60 | 90 | 3000 | 200 | 0.840 | 0.390 |
| 231 | XBD7.0/100GJ-SEAD | 100 | 70 | 110 | 3000 | 200 | 0.980 | 0.455 |
| 232 | XBD8.0/100GJ-SEAD | 100 | 80 | 132 | 3000 | 200 | 1.120 | 0.520 |
| 233 | XBD9.0/100GJ-SEAD | 100 | 90 | 160 | 3000 | 200 | 1.260 | 0.585 |
| 234 | XBD9.8/100GJ-SEAD | 100 | 98 | 200 | 3000 | 200 | 1.372 | 0.637 |
| 235 | XBD3.0/110GJ-SEAD | 100 | 30 | 55 | 3000 | 200 | 0.420 | 0.195 |
| 236 | XBD4.0/110GJ-SEAD | 110 | 40 | 75 | 3000 | 200 | 0.560 | 0.260 |
| 237 | XBD5.0/110GJ-SEAD | 110 | 50 | 90 | 3000 | 200 | 0.700 | 0.325 |
| 238 | XBD6.0/110GJ-SEAD | 110 | 60 | 110 | 3000 | 200 | 0.840 | 0.390 |
| 239 | XBD7.0/110GJ-SEAD | 110 | 70 | 132 | 3000 | 200 | 0.980 | 0.455 |
| 240 | XBD8.0/110GJ-SEAD | 110 | 80 | 160 | 3000 | 200 | 1.120 | 0.520 |
| 241 | XBD9.0/110GJ-SEAD | 110 | 90 | 160 | 3000 | 200 | 1.260 | 0.585 |
| 242 | XBD10.0/110GJ-SEAD | 110 | 100 | 200 | 3000 | 200 | 1.400 | 0.650 |
| № | МОНТАЖНЫЙ РАЗМЕР | УГОЛ | ПОДВАЛ | ||||||||||||||
| H | A | E | L1 | L2 | B | C | 4-Φd1 | D | D1 | DN | n-Φd | C1 | B1 | B2 | T | 4-d2 | |
| 1-5L/S | Вода глубокая | 110 | Φ220 | 225 | 175 | 275 | 350 | 4-Φ22 | 165 | 125 | 50 | 4-Φ18 | 600 | 275 | φ280 | 300 | 4-Φ50 |
| 10-15L/S | Вода глубокая | 125 | Φ260 | 260 | 200 | 280 | 400 | 4-Φ22 | 200 | 160 | 80 | 4-Φ18 | 600 | 280 | Φ280 | 300 | 4-Φ50 |
| 20-15L/S | Вода глубокая | 125 | φ260 | 260 | 200 | 280 | 400 | 4-Φ22 | 220 | 180 | 100 | 8-Φ18 | 600 | 280 | Φ280 | 300 | 4-Φ50 |
| 40-80L/S | Вода глубокая | 180 | φ305 | 310 | 223 | 310 | 450 | 4-Φ22 | 285 | 240 | 150 | 8-Φ22 | 700 | 310 | Φ310 | 300 | 4-Φ50 |
| 90-110L/S | Вода глубокая | 250 | Φ305 | 380 | 255 | 360 | 510 | 4-Φ22 | 340 | 295 | 200 | 12-Φ22 | 800 | 360 | Φ330 | 300 | 4-Φ50 |